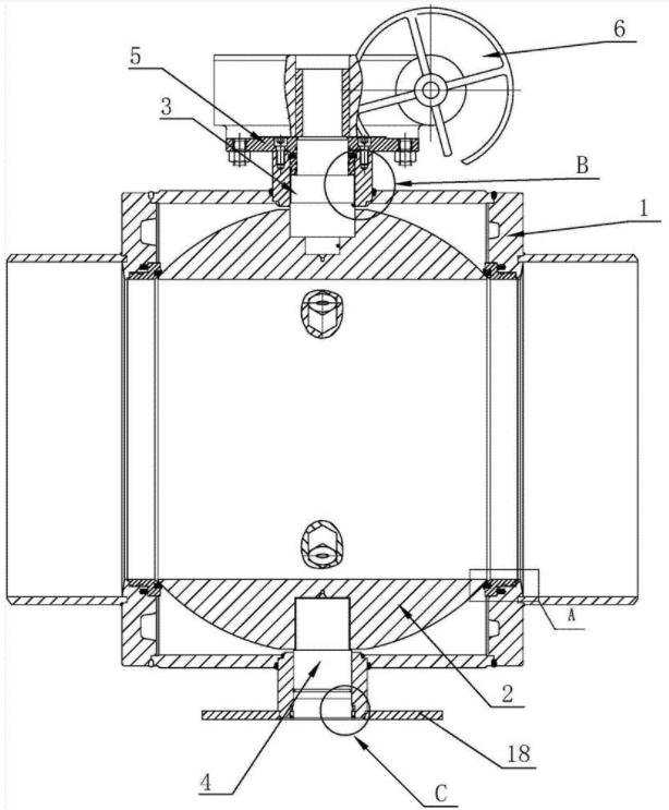
全焊接球閥結構示意圖
隨著全焊接球閥技術的不斷成熟,其功能也是越來越完善,目前我們在城市燃氣、城市供熱、石油化工、造船、鋼鐵、調壓站、發電廠等各類管道設備上都可以看到全焊接球閥的身影。
全焊接球閥應用這么廣泛與其良好的品質、密封性、使用壽命以及超高的穩定性有著很大的關系,這是普通的鑄鋼球閥所無法比擬的。
那么為什么全焊接球閥的性能、使用壽命等都這么好呢?其關鍵之處就在于全焊接球閥閥體結構的特殊性。我們先來看看全焊接球閥的結構示意圖(圖1),再來仔細講講其結構的特殊性。

圖1 全焊接球閥閥體結構示意圖
全焊接球閥閥體結構采用整體式焊接而成,這就使得全焊接球閥的密封性能好于普通鑄鋼球閥,另外全焊接球閥的閥座由PTFE密封環及彈簧組成對壓力和溫度的變化適應能力強,在使用范圍內不會產生泄漏。
還有為了方便,全焊接球閥是可以長期埋于地下工作的,閥體的選用的材料和管道材料相同,因此不會出現應力不均,也不會因為地震或者車輛經過地面時出現擠壓變形的情況,因此全焊接球閥可以長期埋于地下工作而無需更換。
上一篇新聞:雙向承壓蝶閥與普通蝶閥區別
下一篇新聞:全焊接球閥通徑和縮徑差別
服務熱線:0577-85981234 
當前位置: